上海恒點傳動設備有限公司
加微信聯系 恒點減速機QQ2:51228482
[HTML] [XML]  産品展示産品展示-RSS  新聞中心新聞中心-RSS  技術支持技術支持-RSS
産品分類: 減速機蝸輪絲杆升降機轉向箱蝸輪蝸杆減速機齒輪減速機行星齒輪減速機擺線針輪減速機無級變速機大功率減速器
上海恒點傳動設備有限公司
資訊分類
和産品相關的技術文章
當前位置:網站首頁 > 技術支持 > 圓柱形軸伸(GB1569-90)

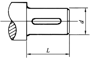
圓柱形軸伸(GB1569-90)

Tags: HD螺旋錐齒換向器    發布時間: 2014-12-07
表8-9圓柱形軸伸(GB1569-90) (mm)
圓柱形軸伸(GB1569-90)
d
L
d
L
基本尺寸
極限偏差
長系列
短系列
基本尺寸
極限偏差
長系列
短系列
6
+0.006
-0.002
j6
16
-
85
+0.035
+0.013
m6
170
130
7
+0.007
-0.002
90
8
95
9
20
100
210
165
10
110
11
+0.008
-0.003
23
20
120
12
125
+0.040
+0.015
14
30
25
130
250
200
16
140
18
40
28
150
19
+0.009
-0.004
160
300
240
20
170
22
50
36
180
24
190
+0.046
+0.017
350
280
25
200
28
60
42
220
30
80
58
240
410
330
32
+0.018
+0.002
k6
250
35
260
+0.052
+0.020
38
110
82
280
470
380
40
300
42
320
+0.057
+0.021
45
340
550
450
48
360
50
380
55
+0.030
+0.011
m6
400
650
540
56
420
+0.063
+0.023
60
140
440
63
105
450
65
460
70
480
71
500
800
680
75
530
+0.07
+0.026
80
170
130
560
600
630
上一篇 上一篇: 旋轉電機圓錐形軸伸(GB757-93)
下一篇 下一篇: 圓錐形軸伸(GB1570-90)
相關新聞文章 > 查看更多
軸承異響-關聯部件與設計問題 2026-01-26
滑動軸承主要故障規則 2025-12-15
變頻器應用中的幹擾問題及其對策 2025-11-24
簡述火焰矯正的原理 2025-10-30
車削螺紋時常見故障及解決方法-中徑不正確 2025-09-01
如何實現測量系統在複雜車間環境下的應用 2025-07-09
國産的閉式齒輪油有哪些種? 2025-06-13
錐齒輪承載能力計算方法第1部分:概述和通用影響系數動載系數KV(GB/T10062.1-2003) 2025-04-25
齒輪圓周力是怎麽計算出來的 2025-02-24
什麽是高溫軸承?主要用於哪些領域? 2025-01-16
什麽是軸承規格? 2024-12-10
什 麽 是 滾 動 體 引 導 2024-11-25
返回頂部 關閉本頁】 【打印本頁
電 話:021-22815912  021-22816186  傳 真:021-32050712   郵箱:sales@021jsj.cn  減速機 絲杆升降機 轉向箱 蝸輪蝸杆減速機
Copyright©2009-2026上海恒點傳動設備有限公司 版權所有  地址 :上海市金山區亭林鎮林寶路39号  郵編:200442  滬ICP備10206998号-2 
友情鏈接機械設備網 | 渦街流量計 | 輸送機 | 變頻控制櫃 | 破碎機 | 工業同城 | 手持終端 | 柴油發電機 | uv平闆打印機 | 風淋室 | QUV | 防火門 | 九愛圖紙 | 感應加熱設備 | 輸送帶廠家 | 噪聲治理 | 西門子plc | 拖鏈電纜 | AGV | 機械雜志 | 現代機械 | UWB高精度定位 |